Déclarations environnementales : Décryptage de la norme NF EN 15804 + A2/CN et de son complément national
Jusqu’au 31 octobre 2022, les FDES étaient encadrées par la NF EN 15804+A1 et son complément national, en vigueur de 2016 à 2022. Suite à la publication à l’échelle européenne en octobre 2019 d’un nouvel amendement à la norme EN 15 804, nommé A2, la France a rédigé un nouveau complément national, qui est entrée en vigueur au 1er novembre 2022.
Cette article présente la NF EN 15804+A2, puis le contenu du complément national français. La norme européenne explique comment doit être réalisée une Déclaration Environnementale Produit (DEP) et le complément national français explique comment réaliser une FDES.
La norme NF EN 15804+A2
L’amendement A2 à la norme européenne 15804 a été publié en octobre 2019 avec un délai de mise en application pouvant aller jusqu’à trois ans. Délai tenu par la France puisque la norme NF EN 15 804+ A2 est entrée en application avec son complément national au 1ernovembre 2022.
Cette norme remplace et annule la norme NF EN 15804 + A1.
Les principales modifications apportées par la nouvelle version de la norme concernent :
-
Les phase du cycle de vie : le module D, qui caractérise les bénéfices et charges au-delà du système, devient obligatoire.
-
Les indicateurs : les règles et méthodes de calcul sont modifiées, il y a désormais 36 indicateurs, dont 6 optionnels.
-
Ajout d’informations sur la teneur en carbone biogénique qui n’existaient pas auparavant.
Les phases du cycle de vie
Tous les produits et matériaux de construction doivent déclarer les modules A1→A3, les modules de fin de vie C1→C4 et le module D (cf. illustration 1 pour la signification des modules).
Pour être exempté de cette exigence et ne réaliser une déclaration que « du berceau à la sortie de l’usine » (c’est-à-dire limitée aux modules A1→A3), les produits doivent remplir l’ensemble des trois conditions ci-dessous :
-
Le produit ou le matériau est physiquement intégré à d’autres produits lors de l’installation, de sorte qu’il ne peut pas être physiquement séparé d’eux en fin de vie ; et
-
Le produit ou le matériau n’est plus identifiable en fin de vie à la suite d’un processus de transformation physique ou chimique ; et
-
Le produit ou le matériau ne contient pas de carbone biogénique.
Exemple de produit : une chaux hydraulique.
Selon les phases du cycle de vie prises en compte, il est possible d’avoir 5 types différents de Déclaration Environnementale Produit (DEP) (cf. illustration 1), à savoir :
-
Berceau à la sortie de l’usine avec les modules C1→C4 et module D
-
Berceau à la sortie de l’usine avec des options et les modules C1→C4 et module D
-
Berceau à la tombe avec le module D
-
Berceau à la sortie de l’usine
-
Berceau à la sortie de l’usine avec des options
1 - Type de DEP en fonction des étapes du cycle de vie concernées et étapes du cycle de vie et modules pour l'évaluation des ouvrages de construction – Source : NF EN 15804+A2
Le module D
La norme définit plus précisément ce que contient le module D :
« Le module d'informations D déclare les charges et bénéfices potentiels relatifs à la matière secondaire, au combustible secondaire ou à l'énergie récupérée quittant le système de produits. Le module D reconnaît le concept de « conception pour la réutilisation, le recyclage et la récupération » pour les bâtiments en indiquant les bénéfices potentiels liés à la baisse d'utilisation ultérieure de matières et combustibles primaires, tout en tenant compte des charges associées aux processus de recyclage et de récupération au-delà des frontières du système. »
Elle précise également comment sont calculés les impacts du module D.
Unité fonctionnelle ou déclarée
Un paragraphe spécifique est dédié à l’unité fonctionnelle ou déclarée. Il précise notamment :
"L’unité déclarée doit être appliquée si aucune unité fonctionnelle ne peut être définie, par exemple parce qu’une fonction du produit ne peut pas être décrite sans équivoque car elle peut être utilisée de différentes manières dans le contexte d’un ouvrage de construction, ou lorsque la fonction précise du produit ou les scénarios au niveau du bâtiment ne sont pas indiqués ou sont inconnus".
Les formats d'unités fonctionnelles pour chaque catégorie de produits sont définis à l'annexe I de l’arrêté du 23/12/2013 relatif à la déclaration environnementale des produits de construction et de décoration destinés à un usage dans les ouvrages de bâtiment
Exemple : l’unité fonctionnelle d’un enduit est le m2, mais dans le cas où cet enduit peut-être appliquer en couche mince (3mm) ou en mono-couche (10mm) l’unité déclarée du m3 peut être utilisée.
Evolution de la liste des indicateurs
Il y a désormais 36 indicateurs de référence au lieu de 24 auparavant. Par ailleurs, 15 des indicateurs de la nouvelle version A2, n’ont pas d’équivalent dans la version précédente, ce qui complique la comparaison des FDES réalisées selon 2 versions.
Les indicateurs d’impacts environnementaux
Parmi les 36 indicateurs de référence, il y a 19 indicateurs environnementaux dont 6 dits additionnels. Parmi les indicateurs qui avaient des équivalents en A1, seuls les indicateurs "Épuisement des ressources abiotiques - minéraux et métaux (ADP_minéraux + métaux)" et "Épuisement des ressources abiotiques – combustibles Fossiles (ADP_combustibles fossiles)" ne sont pas modifiés. L’ensemble des autres indicateurs sont calculés avec de nouveaux facteurs de caractérisation.
Voici la liste des catégories d’impacts environnementaux de référence devant être inclus dans chaque module déclaré d’une DEP.
2 - Catégorie d'impacts environnementaux de référence
Voici la liste des catégories d’impacts environnementaux additionnels :
3 - Catégorie d'impacts environnementaux additionnels
Les indicateurs d’impacts environnementaux additionnels doivent être évalués et inclus dans le rapport du projet pour chaque module déclaré. Ils peuvent être inclus dans la DEP.
Si les indicateurs additionnels ne sont pas déclarés dans la DEP, ils doivent quand même être mentionnés, par exemple avec l’indication "ND" ou sous forme de texte : non déterminé.
Les autres indicateurs
Les 17 indicateurs restants sont des indicateurs relatifs à l’utilisation des ressources, les catégories de déchets et les flux sortants. Ces derniers n’ont pas fait l’objet de modification par rapport à la version antérieure de la norme.
Informations sur la teneur en carbone biogénique
La teneur en carbone biogénique du produit et celle de l’emballage associé doivent obligatoirement être déclarées. Il s’agit de deux déclarations différentes. Il existe une seule exception à ces déclarations :
-
La masse des matériaux contenant du carbone biogénique dans le produit est inférieure à 5% de la masse du produit
-
La masse de l’emballage contenant du carbone biogénique est inférieure à 5% de la masse de l’emballage.
Le calcul du contenu de carbone biogénique pour les produits et emballages associés doit être conforme à la norme EN 16449 "Produits en bois et dérivés du bois".
Les informations sur la teneur en carbone biogénique doivent être incluses dans la DEP de la façon suivante :
4 -Information sur la teneur en carbone biogénique
Zoom sur le potentiel de réchauffement global (PRG-total)
Le potentiel de réchauffement global - total (PGR-total) est la somme de trois sous-catégories de changement climatique :
- Potentiel de réchauffement global - fossile (PRG-fossile),
- Potentiel de réchauffement global - biogénique (PRG-biogénique),
- Potentiel de réchauffement global - occupation des sols et transformation de l’occupation des sols (PRG-luluc).
Chaque sous-catégorie doit être déclarée séparément.
Les processus de compensation carbone ne font pas partie du système de produits étudié. De même, l’effet d’un stockage temporaire, l’effet des émissions différées du carbone ou l’effet du stockage permanent du carbone biogénique ne doivent pas être inclus dans le calcul du PRG.
Potentiel de réchauffement global - fossile (PRG-fossile)
Cet indicateur tient compte du potentiel de réchauffement global dû aux émissions et captations de gaz à effet de serre vers tout milieu provenant de l’oxydation ou de la réduction de combustibles fossiles ou de matériaux contenant du carbone fossile au moyen de leur transformation ou dégradation.
Par exemple, la captation de CO2 par le phénomène de carbonatation des matériaux à base de chaux et de ciment contribue à cet indicateur.
Les impacts doivent être déclarés dans les modules (phases) où ils se produisent.
Potentiel de réchauffement global - biogénique (PRG-biogénique)
"Cet indicateur tient compte du PRG dû aux captations de CO2 dans la biomasse à l’exception des forêts naturelles, sous forme d’un transfert de carbone, séquestré par la biomasse vivante, de la nature vers le système de produits déclaré comme PRG-biogénique. Cet indicateur tient également compte du PGR dû aux transferts de tout carbone biogénique provenant de systèmes de produits précédents vers le système de produits étudié."
"Cet indicateur couvre également les émissions atmosphériques biogéniques provenant de la biomasse, à l’exception des forêts naturelles, dues à l’oxydation ou à la dégradation (par exemple, combustion, élimination des déchets solides), ainsi que tous les transferts de carbone biogénique de la biomasse de toutes origines, à l’exception des forêts naturelles, aux systèmes de produits ultérieurs sous forme de CO2 biogénique."
Les captations de CO2 biogénique et les transferts en provenance de systèmes de produits antérieurs doivent être caractérisés par –1 kg de CO2 équiv./kg de CO2 lors de leur entrée dans le système de produits. Les émissions de CO2 biogénique et les transferts de biomasse vers les systèmes de produits ultérieurs doivent être caractérisés par +1 kg de CO2 équiv./kg de CO2 de carbone biogénique.
Les impacts doivent être déclarés dans les modules où ils se produisent.
Potentiel de réchauffement global - occupation des sols et transformation de l’occupation des sols (PRG-luluc)
Cet indicateur tient compte des émissions et captations de gaz à effet de serre provenant de variations dans les stocks de carbone définis résultant de l’occupation des sols et de la transformation de l’occupation des sols associées à l’unité déclarée/fonctionnelle.
Cet indicateur inclut les échanges de carbone biogénique résultant, par exemple, de la déforestation ou d’autres activités concernant les sols.
Les impacts doivent être déclarés dans les modules où ils se produisent.
Complément national à la norme NF EN 15804+A2
Publication du complément national (CN) le 28 octobre 2022 pour une application au 1er novembre 2022.
Ce document complète la norme NF EN 15804+A2 pour la réalisation de déclaration environnementale et sanitaire couvrant l’ensemble du cycle de vie d’un produit de construction dans un cadre « professionnel à professionnel » (B to B) ou « professionnel vers le consommateur » (B to C). Il fournit notamment :
-
Des précisions sur la durée de vie par catégorie de produit
-
Des informations sur les scénarios de transport par défaut
-
Des détails sur l‘affectation des co-produits
-
Des exemples concrets sur l’application du module D
-
Un cadre de validité des DEP collectives, de gamme et multi-sites.
-
Un nouveau format de communication.
Les indicateurs pollution de l’eau et pollution de l’air qui avaient été introduits par le complément national de la norme NF EN 15804+A1 n’existent plus dans cette nouvelle version.
Durée de vie
L’annexe H donne la liste des durées de vie de référence (DVR) par défaut par catégorie de produit qui doivent être appliquées si aucune donnée spécifique n’est disponible.
Si la DVR n’est pas présente dans l’annexe H, il est acceptable de retenir la DVR la plus faible identifiée dans les FDES de la même famille.
Scénarios de transport
Des scénarios de transport par défaut sont définis en l’absence de données primaires :
-
Transport international : 19000 km par bateau plus 1000 km par camion
-
Transport intracontinental : 3500 km par camion
-
Transport national : 1000 km par camion
Pour l’élimination des déchets en fin de vie en France :
-
Transport de déchets dangereux : 300 km
-
Transport de déchets non dangereux : 50 km (100 km pour le plâtre)
-
Transport de déchets inertes : 30 km
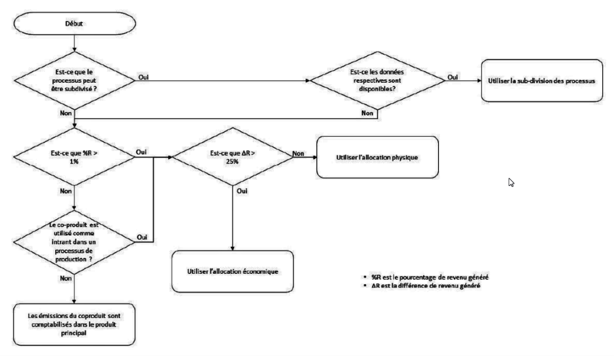
Affectation des "co-produits"
Le terme de « co-produit » est employé lorsqu’une étape génère plusieurs produits pouvant être valorisés. Afin que le produit principal étudié ne supporte pas la totalité des flux environnementaux ceux-ci peuvent être répartis ou alloués entre les différents co-produits.
Le logigramme suivant, issu du complément national, précise comment doivent-être affectés les co-produits simultanés.
5 - Logigramme de décision sur le choix de l'affectation à utiliser – Source : NF EN 15804+A2/CN
Module D
L’annexe L donne des exemples relatifs à la définition des frontières entre le module C et le module D par filière :
-
Béton,
-
Métaux non-ferreux,
-
Produits bois,
-
Terre cuite,
-
Agrégats d’enrobés,
-
Acier.
Elle précise également les scénarios de fin de vie pouvant être appliqués si aucun scénario spécifique au produit couvert par la DEP ne peut être justifié.
Cadre de validité
L’annexe O présente les exigences de qualité requises des données pour les DEP collectives ou DEP de gammes ou DEP multi-sites.
6 - Types de DEP et combinaisons possibles
L’annexe O précise également, à l’aide d’un logigramme, la démarche d’étude recommandée pour réaliser les DEP collectives, les DEP de gammes ou les DEP multi-sites.
Le cadre de validité (spécifique aux DEP collectives, aux DEP de gammes et aux DEP multi-sites) doit être fourni par le propriétaire de la DEP collective ou de gamme ou multi-sites, il contient :
-
L’identification des responsables de la mise sur le marché pouvant utiliser la DEP. Le propriétaire de la DEP collective/de gamme/multi-sites peut décider que seuls certains responsables de la mise sur le marché peuvent utiliser cette DEP. Cette restriction est facultative, dans ce cas elle est présentée :
-
Soit sous forme d'une liste nominative exhaustive ;
-
Soit sous forme d'une condition d'appartenance à une collectivité (association, syndicat, signataires de charte de bonnes pratiques...). Dans ce cas, la liste des membres de cette collectivité doit être disponible publiquement ou un justificatif d'appartenance à la collectivité doit être fourni par le responsable de la mise sur le marché.
-
-
L’identification des produits couverts par la DEP :
-
Soit sous la forme d’une liste des références commerciales couvertes ;
-
Soit sous la forme d’une description qualitative du produit type et des produits couverts, accompagnée de la liste des paramètres sensibles et de leurs domaines de validité. Afin de permettre l’utilisation de la DEP, les paramètres sensibles présentés sont tant que possible connus des utilisateurs de la DEP (acteurs des opérations de construction).
-
Format de communication
L’annexe K présente le modèle de communication à utiliser dans le cadre de la rédaction d’une FDES.
Le format de communication est modifié pour tenir compte des évolutions de la norme NF EN 15804+A2.
Modalités de déploiement de la nouvelle norme dans le temps dans la base INIES :
Toute FDES vérifiée après le 1er novembre 2022 doit être conforme à la norme NF EN 15804 A2.
Les FDES format A1 dont la date d’expiration n’est pas encore arrivée (FDES de moins de 5 ans) peuvent rester en l’état sur la base INIES, mais uniquement jusqu’au 31/12/2025. Certaines FDES A1 auront donc une durée de validité inférieure à 5 ans.
Ensuite, à partir du 1er janvier 2026, la base INIES ne comprendra plus que des FDES au format A2.
